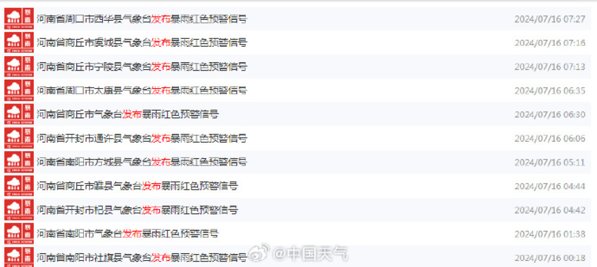
今天凌晨到早上,全国降水榜前十几乎都被河南包圆。今天,河南、山东等地成为暴雨核心区域,其中河南局地有特大暴雨,南阳、商丘、周口、开封等多地已拉响最高级别的暴雨红色预警。
具体来看,据@河南气象 预报,今天白天到夜里,黄淮之间和新乡东部部分县市有大到暴雨,其中南阳、平顶山、许昌、漯河、驻马店西部和北部、周口、郑州东部和南部、开封、商丘部分县市有大暴雨,局部特大暴雨;明天,淮河以北有大到暴雨,北部、中东部、西南部部分县市有大暴雨,局部特大暴雨。
首页 > 专题 > 2024专题 > 聚焦河南省2024年防汛工作 > 最新资讯
今天凌晨到早上,全国降水榜前十几乎都被河南包圆。今天,河南、山东等地成为暴雨核心区域,其中河南局地有特大暴雨,南阳、商丘、周口、开封等多地已拉响最高级别的暴雨红色预警。
具体来看,据@河南气象 预报,今天白天到夜里,黄淮之间和新乡东部部分县市有大到暴雨,其中南阳、平顶山、许昌、漯河、驻马店西部和北部、周口、郑州东部和南部、开封、商丘部分县市有大暴雨,局部特大暴雨;明天,淮河以北有大到暴雨,北部、中东部、西南部部分县市有大暴雨,局部特大暴雨。
扫一扫在手机打开当前页
相关阅读: